前言导读
符合下列情形的医疗器械审查,适用于创新医疗器械特别审查程序:
(一)申请人通过其主导的技术创新活动,在中国依法拥有产品核心技术发明专利权,或者依法通过受让取得在中国发明专利权或其使用权,创新医疗器械特别审查申请时间距专利授权公告日不超过5年;或者核心技术发明专利的申请已由国务院专利行政部门公开,并由国家知识产权局专利检索咨询中心出具检索报告,报告载明产品核心技术方案具备新颖性和创造性。
(二)申请人已完成产品的前期研究并具有基本定型产品,研究过程真实和受控,研究数据完整和可溯源。
(三)产品主要工作原理或者作用机理为国内首创,产品性能或者安全性与同类产品比较有根本性改进,技术上处于国际领先水平,且具有显著的临床应用价值。
2023年1号创新医疗器械获公示
创新医疗器械特别审查申请审查结果公示(2023年第1号)
依据国家药品监督管理局《创新医疗器械特别审查程序》(国家药监局2018年第83号公告)要求,创新医疗器械审查办公室组织有关专家对创新医疗器械特别审查申请进行了审查,拟同意以下申请项目进入特别审查程序,现予以公示。
1.产品名称:碳纤维人工肋骨
申 请 人:湖南碳康生物科技有限公司
2.产品名称:经尿道植入前列腺束钉
申 请 人:优诺维(武汉)医疗科技有限公司
3.产品名称:血流导向装置
申 请 人:江苏暖阳医疗器械有限公司
详情导读
碳纤维人工肋骨
现有的替代产品的临床问题如下:
1)术中手工制作的PMMA植入物不仅因表面平整度不高,边缘较为毛糙,术后出现软组织血肿和感染的风险较高,而且其冲击韧性差,当受外力作用时容易发生碎裂、折断,有刺破胸腔重要器官的风险,同时存在一定致癌风险;
2)不锈钢等金属制品存在术后易移位、组织相容性差及影响后续磁共振成像 (MRI) 等检查弊端,其使用频率逐渐降低;
3)钛合金不管是通用的条状、板状和网状的还是组件系统(如Matrix-RIB系统和STRATOS系统)也存在以下问题:①弹性模量较高导致限制性通气功能障碍,②力学强度和正常肋骨存在差异,受到外力撞击时导致进一步损伤,③术后影像学检查纯在强烈的伪影,影响对后续疾病的诊断和治疗,④组织长入性不佳,术后感染的发生率在5%左右。
公开了一种碳纤维复合材料人工肋骨及其制备方法。该方法采用碳纤维束通过编织工艺编织成碳纤维编织条,碳纤维编织条依次通过模具辅助烘烤定形、介质超声处理、沉积碳和/或碳化硅基体以及沉积PyC涂层和/或沉积DLC或F‑DLC涂层,即得碳纤维复合材料人工肋骨。该人工肋骨具有质量轻、化学稳定性好、机械性能与人体骨相近、抗疲劳性好以及生物相容性好等特点,用于移植或修复后,与人体组织不发生反应,能承受住体内酸碱环境,能与周围骨组织进行紧密结合以促进骨的生长,具有良好的韧性,避免突发断裂带来的重大风险,且具有X光可透过性,有利于术后康复情况诊断。
经尿道植入前列腺束钉
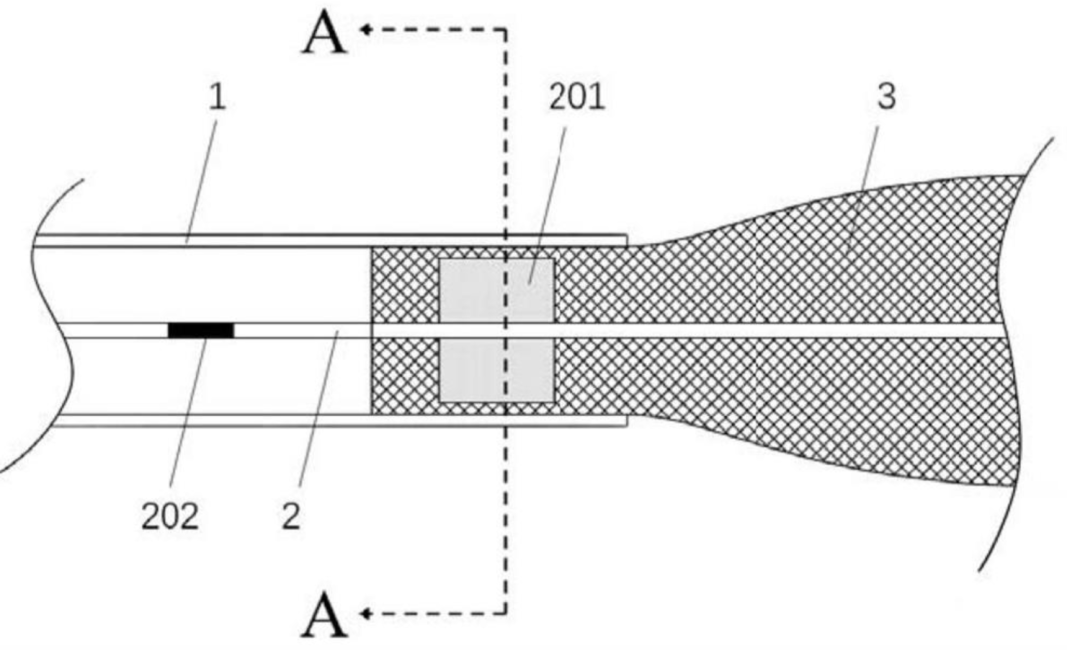
血流导向装置
围绕临床痛点,暖阳医疗对输送结构进行深入研发,创造了一套全新的支架输送系统。手术操作中,这套输送系统可以解决支架的准确定位风险:当医生将密网支架从导管里全部推出后,仍可以完整撤回导管内进行再次、甚至多次的重新放置,直至确认定位准确。
在编织结构上,而暖阳医疗从研发之初就选择了72头的编织结构,这样的设计使产品有更致密的孔隙密度,在术后恢复中更快实现内皮化。
在血管内植入物的输送领域提供了新的改进和如下优点:
1)本发明的输送系统可以实现释放的血管内植入物长度超过血管内植入物总长95%时的血管内植入物多次回收,方便医生操作过程中更准确定位。
(2)本发明的输送系统对血管内植入物结构要求低。现有技术中释放递送系统需要钩住血管内植入物尾部的网状或环状结构,因此需要与具有近侧环、臂构件或标记线圈等的血管内植入物及递送护套配合使用。本发明中血管内植入物与输送系统之间可以仅将压力与摩擦力作为实现固定、保持与相对位置变化的作用力,通过三者之间的尺寸及位置匹配实现血管内植入物的固定与保持,不产生其他勾连,因此无需血管内植入物具有特殊的尾部结构,适用于包括密网支架、封堵器、弹簧圈的多种血管内植入物。
(3)本发明的输送系统释放血管内植入物简单易操作,固定、保持与相对位置变化均通过导丝与输送管发生相对运动实现,无需引入额外的装置、通道、热驱动或电驱动的推动器,能够直接手动操作;但同时也可以与相应的推送辅助工具配合使用,具有较高的灵活性。
(4)本发明的输送系统对微导管内径要求低,微导管内径大于输送管外径皆可使用,方便医生选择适合手术操作的型号。
END
作者简介
医疗IP君,知识产权学者,深耕医疗器械领域。

关注我们的微信公众号
获得更多资讯

京公网安备 11010502031898号

